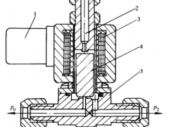
三通电磁阀也是直接启闭式电磁阀,用于制冷系统作为制冷压缩机气缸卸载装置的油路控制。其工作原理与ZCL-3型两通电磁阀相同。结构如图3-6所示。

三通电磁阀与ZCL-3型两通电磁阀的区别就是三通电磁阀有三个通道口,即a. b和c三个通道口,并且进口a和出口b不在同一水平面上c口在下边。电磁线圈通电,阀杆提起,这时b,c通道口接通,而b,c通道口与a通道门不通;电磁阀断电.阀杆下落,阀芯把c通道口堵死,a通道口和b通道口连通。由于铁芯只能有两个位置,所以三个通道口不能同时连通。可以看出,a通道口和c通道口在任何情况下都是不通的。三通电磁阀的使用、安装要求与ZCL-3型两通电磁阀相同。



