温度20 K以上,特别是近室温附近,磁性离子系统热运动加强,顺磁盐中磁有序态难以形成,它在受外磁场作用前后造成的磁系统熵变减小,磁热效应减弱。所以,进入室温区制冷,低温磁制冷所采用的材料和循环都不适用,故很长时间室温磁制冷没有什么发展。直到1976年美国国家宇航局(NASA)的布朗(Brown)首次完成室温磁制冷实验,促进了该领域的发展。1980年,日本政府、产业界和大学三方面人员组成“室温磁性冷冻研究会”。以后十多年室温磁制冷技术进展较快。目前,磁制冷步入室温制冷应用的研究仍在进行。

图1-9示出金属钆(Gd)在200~ 300 K条件下的T-s图。若按卡诺循环制冷(图中1'-2-3'-4'-1'),则温降很小,这时应采用艾里克森循环(Ericsson ),如图中1-2-3-4-1所示。它由四个过程组成:1-2为等温磁化;2-3为等磁场过程(温度降低); 3-4为等温退磁(吸热制冷);4-1为等磁场过程(温度上升)。
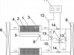
布朗用7T的磁场和金属钆,按上述循环成功地从室温制取到-30℃的低温。布朗的实验装置如图1-10所示。将金属钆板(磁材料)浸在蓄冷筒的蓄冷液体(水+乙二醉溶液)中。利用磁场变化配合蓄冷筒上下运动实现循环。图1-10中示出了一个周期的变化过程。经过多次反复,筒体上部达到323 K,下部达到243 K。

室温磁制冷实用化的研究包括以下主要方面:①寻找合适的磁材料(工质),它应具有的特点是离子磁矩大,居里点接近室温,以较小磁场作用与除去作用时能够引起足够大的磁熵变(即磁热效应显著)。现已研制出一系列稀土化合物作磁制冷材料,如R-Al,R-Ni,R-Si等系列的物质(R代表稀土元素),还有复合型磁制冷物质(由居里点不同的几种材料组成);②外磁场需采用高磁通密度的永磁体;③研究最合适的磁循环并解决实现循环时涉及的热交换问题。





