- 隔热板安装要求
评论2020-01-14
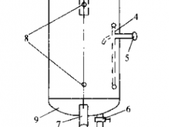
- 氨液分离器的结构是怎样的?
评论2020-01-14
- 分体式壁挂空调器的安装实例——确定安装位置
评论2020-01-14
- 半导体式温度控制器的感温特性
评论2020-01-14
- 非满液卧式蒸发器的结构是怎样的?
评论2020-01-14
- 满液卧式壳管蒸发器的结构是怎样的?
评论2020-01-14
- 双头螺旋管式蒸发器的结构是怎样的?
评论2020-01-14
- 立管式蒸发器的结构是怎样的?
评论2020-01-14
- 蒸发器有哪些种类,它们的功能是什么?
评论2020-01-14
- 活塞式制冷压缩机飞溅式润滑的工作过程是怎样的?
评论2020-01-13
- 正确使用温控器的注意事项
评论2020-01-13
- 制冷部件的维修与更换——阀门
评论2020-01-13
- 制冷系统的电阻检查法
评论2020-01-13
- 制冷系统与电气系统产生故障的区别
评论2020-01-13
- 压力式温度控制器——半自动除霜温度控制器
评论2020-01-13
- 热敏电阻式温度控制器原理电路图
评论2020-01-13
- 山东热力膨胀阀的维修
评论2020-01-13
- 热泵型空调器电路图原理
评论2020-01-13
热泵型窗式空调器的结构组成
热泵型窗式空调器与单冷型窗式空调器相比,空气循环系统和箱体支撑系统没有变化,不同的是增加了一个进行制冷、制热转换的电磁四通换向阅和制热毛细管,电气控制系统亦稍有不同。
评论2020-01-134688