- 空调器通风系统检查风机的相关部位
评论2020-01-13
- 空调器通风系统检查电动机的转速情况
评论2020-01-13
- 活塞式制冷压缩机的活塞组件结构是怎样的?
评论2020-01-13
- 活塞式制冷压缩机的总体结构是怎样的?
评论2020-01-13
- 空调器通风系统触摸电动机的检查
评论2020-01-13
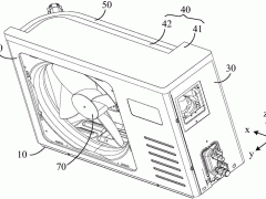
- 空调器通风系统部件——轴流式风扇
评论2020-01-13
- 怎样识别制冷压缩机的型号?
评论2020-01-13
- 活塞式制冷压缩机有哪些种类?
评论2020-01-13
- 冷库冷却水的给水方式有哪几种?
评论2020-01-13
- 冷库生产用水的温度应怎样选择?
评论2020-01-13
- 空调器通风系统部件——压力控制器
评论2020-01-13
- 空调器通风系统部件——电动机
评论2020-01-13
- 空调器通风系统部件——除霜器工作原理
评论2020-01-13
- 空调器通风系统部件——除霜器工作原理
评论2020-01-13
- 空调器电气系统的维修——集成块的拆装方法
评论2020-01-13
- 空调器电气系统的维修——电容器的检查与更换
评论2020-01-13
- 空调器电气系统的维修——电气器件连接线路
评论2020-01-13
- 冷库的动力部分和生产工艺部分包括哪些设施,它们的作用是什么?
评论2020-01-13
- 空调安装位置选择的注意点
评论2020-01-13
空调安装及防护要求
标准卧式空调器的室外侧应装设支架,以保证安全,支架可用30mm×30mm的角铁制作,支架在墙上的固定方式有多种,可根据实际情况而定,可用电钻打孔后以膨胀螺栓固定。
评论2020-01-133756