立式管壳式冷凝器直立安装在水池上方,目前只用于中型及大型的氨制冷装置中,其结构如图2-9所示。
1.立式管壳式冷凝器的结构
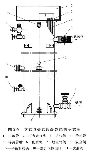
立式管壳式冷凝器的外壳由钢板卷制后炸接成圆柱形,两端无端盖,便于冷却水自上而下流动。外壳上设有放油阀、放空气阀、平衡阀和安全阀等管接头。壳内的换热管用焊接或胀接方法与焊接在冷凝器两端的管板紧固。换热管一般采用φ38mm x 3mm或φ51mm x3. 5 mm的无缝钢管,其长度为4~5m。每个冷凝器的换热管有几十至几百根。
	
配水箱装在冷凝器顶部,分水器(导流管嘴,见图2-10)装在换热管的顶端入水口,冷却水通过三个斜槽流入换热管中。分水器除了具有使水流均匀、增强传热的作用外,还可降低水流冲击,减缓换热管所受水流的冲击腐蚀。
	 
2.立式管壳式冷凝器的工作特点
冷却水从配水箱经过每根换热管顶部的分水器,通过三个斜槽流入换热管中,并在重力作用下以螺旋线状沿管道内表面成膜层自上而下,换热后流入水池;水再由水泵送上冷却塔冷却后,循环使用。高压过热氨气从冷凝器外壳的中上部,进入冷凝器内的换热管外空间,在换热管外冷却后冷凝成氨液。氨液沿管外流下,并存积在冷凝器底部,从出液管流出。

 
  




 
   

