- 加热和加湿过程在h-d图上的表示
评论2019-09-17
- 直冷式电冰箱制冷系统
评论2020-01-08
- 在实际应用中,立式氨液分离器比重较大
评论2020-01-15
- 如何正确地使用空调器?使用空调遥控器应注意哪些事项?
评论2020-03-06
- 定时器是怎样工作的?
评论2020-03-06
- 空调器的开关通断状态如何分析?
评论2020-03-06
- 变频器的控制原理
评论2020-03-06
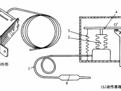
- YK303型继电器动作原理图例
评论2020-03-06
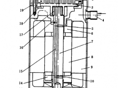
- KD型高低压力控制器结构原理图例
评论2020-03-06
- 吸收一扩散式制冷系统的工作原理
评论2020-03-05
- 涡旋式压缩机中控制回液的目的
评论2020-03-05
- 阀的开启度只与阀前的压力有关
评论2020-03-05
- 止回阀安装位置与流向
评论2020-03-05
- 离低压压力控制器如何工作?
评论2020-03-05
- 空调器3分钟延时电路如何工作?
评论2020-03-05
- 过欠压检测保护电路如何工作?
评论2020-03-05
- 自动空气断路器有什么功能?
评论2020-03-05
- 选择开关和电子控制开关是如何工作的?
评论2020-03-05
- 固态继电器的主要特点是什么?
评论2020-03-05
- 固态继电器是怎样工作的?
评论2020-03-05