- 通风机噪声的大小表示及计算
评论2020-03-05
- 压力式温度控制器的结构及工作原理是怎样的?
评论2020-03-05
- 四通换向阀的内部运作
评论2020-03-05
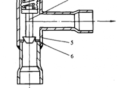
- 水量调节阀的上下部分构造图示
评论2020-03-05
- 三种冷却空气的蒸发器
评论2020-03-05
- 如何提高通风系统的换热效率
评论2020-03-05
- 什么是数字集成电路?
评论2020-03-04
- 热泵空调器和单冷空调器的主要区别
评论2020-03-05
- 气液分离器接触大量制冷剂液体怎样办
评论2020-03-05
- 气液分离器接触大量制冷剂液体怎样办
评论2020-03-05
气体通过离心风机的能量变化关系
离心式通风机的叶轮一般由镀锌薄板、薄铝板或工程塑料制成,直径较大而生产量小的叶轮用镀锌钢板制造,直径小的叶轮用铝板冲压或用工程塑料压铸成型。
评论2020-03-054643
- 空调器的温度控制器的作用是什么?
评论2020-03-05
- 凭借视液镜检查制冷剂的流动状态
评论2020-03-05
- 家用空调器的电机保护器有哪些?
评论2020-03-05
- 旁通电磁阀与通用电磁阀的不同
评论2020-03-05
- 启动继电器(电压式)有什么特点?
评论2020-03-05
- 毛细管常用于哪些制冷系统
评论2020-03-05
- 冷凝压力调节阀如何使冷凝压力维持在设定值
评论2020-03-05
- 单冷式空调器的结构是怎样的?
评论2020-03-05
- 空调完整的电气控制系统
评论2020-03-05