- 食品冷冻冷藏的制冷技术_制冷剂
评论2022-03-30
- 制冷系统压缩机部分的配置方案
评论2022-03-29
- 制冷系统设备液面的控制和显示
评论2022-03-29
- 制冷系统气泵供液的原理及特点
评论2022-03-29
- 制冷系统冷凝器的配置方案
评论2022-03-29
食品材料热物理性质的测量_焓的测量
焓(enthalpy)值是相对值,过去的教材中多取一20℃冻结态的焓值为其零点,近年来多取一40℃的冻结态为其零点。1.量热计法传统测
评论2022-03-29392
- 食品材料热物理性质的测量
评论2022-03-29
- 制冷系统冷间冷却方式的确定
评论2022-03-29
- 制冷系统供液方式的选用
评论2022-03-29
- 制冷系统供冷形式介绍
评论2022-03-29
- 制冷系统独立部件紧急泄氨器的配置方案
评论2022-03-29
- 制冷系统独立部件安全管网的配置方案
评论2022-03-29
- 制冷系统低压调节站的设置方案
评论2022-03-29
- 低温对食品水分活度的影响__食品冷冻冷藏原理
评论2022-03-29
- 低温对食品水分活度的影响_
评论2022-03-29
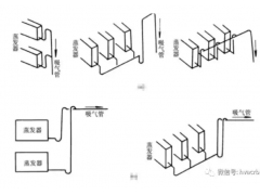
- 制冷系统低压侧蒸发器部分管道配置方案
评论2022-03-29
- 引起食品变质的因素及其与温度的关系_机械损伤机械
评论2022-03-29
- 引起食品变质的因素及其与温度的关系_氧化作用引起的变质
评论2022-03-29
- 引起食品变质的因素及其与温度的关系_呼吸作用引起的变质
评论2022-03-29
- 制冷系统的定义及分类
评论2022-03-29