- 移动压力容器充装气体的危险特性——气体的窒息性
评论2021-05-18
- 移动压力容器充装气体的危险特性——气体的腐蚀性
评论2021-05-18
- 移动压力容器充装气体的危险特性——气体的低温危害
评论2021-05-18
- 移动压力容器充装气体的危险特性——燃烧与爆炸
评论2021-05-18
- 恒温恒湿室气流组织的分布原则
评论2021-05-18
- 恒温恒湿室的设计实例
评论2021-05-18
- 计算机房的环境设计条件中温、湿度的影响
评论2021-05-18
- 计算机房的环境设计条件中尘埃、噪声对主机房的环境设计条件的影响
评论2021-05-18
- 恒温恒湿室的换气次数和控制精度如何确定?
评论2021-05-18
- 压力容器常用阀门——截止阀
评论2021-05-17
- 压力容器常用阀门——闸阀的结构和特点
评论2021-05-17
- 液化气体罐车防止静电危害的措施
评论2021-05-17
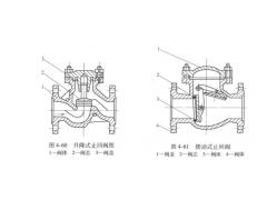
- 压力容器常用阀门——止回阀的结构和特点
评论2021-05-17
- 液化气体罐车静电的产生
评论2021-05-17
- 恒温恒湿室的建筑处理
评论2021-05-17
- 恒温恒湿室内的温湿度条件如何确定?
评论2021-05-17
- 净化空调方式应用实例
评论2021-05-17
- 洁净室的正压控制如何进行?
评论2021-05-17
- 净化空调系统的划分原则
评论2021-05-17
- 各种洁净室与空调装置的组合方式
评论2021-05-14