压力式温度控制器是目前电冰箱中使用最多的一种温度控制器,从结构上可分为普通型、半自动除霜型和风门型三种。
半自动除霜温控器主要用在各种直冷式电冰箱中,一方面可以像普通型温控器那样对箱内温度进行调节和控制;另一方面当电冰箱蒸发器表面霜层过厚时,可用其进行除霜。使用时只要将除霜按钮按下,压缩机就会立即停止工作而除霜,待箱内温度达到预定的除霜终了温度(即蒸发器表面温度为5℃左右,箱内中部温度为10℃左右)时,除霜按钮就会自动跳起接通电源,压缩机便恢复工作。

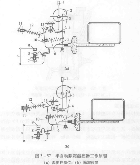
图3-57所示为半自动除霜温度控制器的工作原理。当除霜按钮没有按下时,除霜弹簧未对除霜平衡弹簧施加作用力,则半自动除霜温度控制器相当于普通型温度控制器。当需要除霜时,将除霜按钮压下,则动、静触点分开,切断压缩机电路,压缩机停转,制冷停止。这时除霜控制板除受主弹簧的作用力外,还受除霜弹簧的作用。当箱温升到一定温度值(除霜终了温度),感温腔体积膨胀伸长至足以推动杠杆时,动、静触点闭合,压缩机运转,又开始制冷,同时除霜按钮自动弹起复位,使半自动除霜温度控制器进入正常的温控工作状态。
除霜终点温度是通过除霜温度调节螺钉来调节的,顺时针拧转除霜温度调节螺钉,除霜弹簧被压缩,除霜弹簧对除震控制板的预力矩增大,除霜温度升高;逆时针拧转除霜温度调节螺钉,则除霜温度降低。






