油压差控制器在安装使用时应注意:
1)高、低压接口分别接液压泵出口油压和曲轴箱低压,切不可接反。参见图49-34。

2)控制器本体应垂直安装,高压口在下,低压口在上。
3)油压差等于油压表读数与吸气压力表读数的差值,不要误以油压表读数为油压差。
4)油压差的设定值一般调整为0.15一0.2MPa。
5)采用热延时的压差控制器,控制器动作过一次后,必须持热元件完全冷却(需5mi。左右)、手动复位后,才能再次启动使用。

不带延时机构的压差控制器就是一单纯的压差开关。例如国产CWK-11型、YCK型和国外的RT型就属于此类。
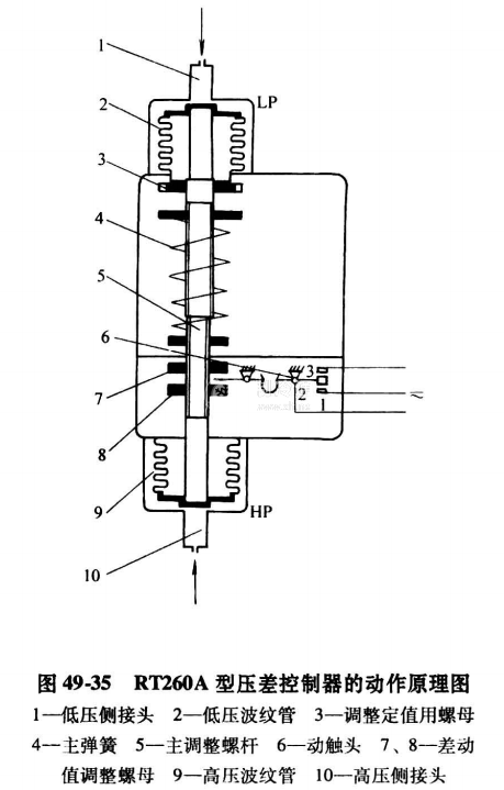
图49-35为RT260A型压差控制器的动作原理图,图49-36为它的结构图,如前所述,它是一只外接延时继电器的压差控制器。其动作原理从图49-35看十分清晰。压差给定值可通过定值调整螺母、主调整杆来改变主弹簧的预紧度来实现,而压差控制器的差动则可用改变差动调整螺母间的间隙来实现。

其构造图49-36可与原理图对照分析。






